Lični ski lift – Može li se bez žičara?

Polovinom decembra 2012. Institutu za intelektualno vlasništvo BiH u Sarajevu je podneta za skijaše zanimljiva patentna prijava - Lični Ski lift
Skijajte za 15% od realne cene ski passa. Lagani lični ski lift sa baterijskim jednosmernim elektromotorom i potisnom malom elisom od karbonskih vlakana, se vezuje oko struka kaišem od plastične mase. Na kaišu se nalazi dugme za paljenje. Baterija se puni u pauzi za ručak. Brzina guranja uz padinu 2.5 m/s, pri 30 - 40 stepeni nagiba. Guma 1,2 cm montirana prema zadnjici smanjuje udaranje kod padanja. Težina od 1.6 do 3.3kg, bez kaiša.
LIČNI SKI LIFT
1. Oblast tehnike na koju se pronalazak odnosi
Lični Ski lift spada po MKP u A63K, oprema za sport, utrke i jahanje
2.Tehnički problem za koji se traži riješenje
Jeftiniji značajno vertikalni skijaški transport, sa osobnim uređajem bez stacionarnih ski liftova na skijalištima.
3. Stanje tehnike
Dosadašnji skuplji ski liftovi traže 2-3 zaposlena plaćena, a sada postoji mogućnost samo jednoga uposlenika koji motornim sankama taba stazu, uz naravno manju cijenu osobnih uređaja, kao i mogućnost da svako, a ne udaljeno brdo bude skijalište uz jednostavniju opremu.
4.Detaljan opis najmanje jednoga ostvarivanja pronalaska
Za lični ski lift motor, baterija i metalni dijelovi bi se naručivali iz veće tvornice, a u kalupima kao kanui bi se od karbonskih vlakana uz malu investiciju pravili kućište i elisa, pojas se šije i kroji od plastičnih masa jednostavnom opremom. Vezivanje i očvršćavanje epoksidne smole za listove karbon platna u metalnim kalupima, traje po 8-9 sati u vezi sa brzinom izrade i produktivnosti u manjem pogonu. Radi boljega kvaliteta spoja listova i epoksida, moze se pored klasičnoga premazivanja upotrebljavati i metoda infuzije u vakumu, ali uz nešto bolju opremu.
5. Način upotrebe pronalazka
Vožnja po trasi utabanoj uzbrdo sa približno 2-3 metra u sekundi brzine, poslije paljenja motora dugmetom treba držati razmak od dvije ipo-tri sekunde.

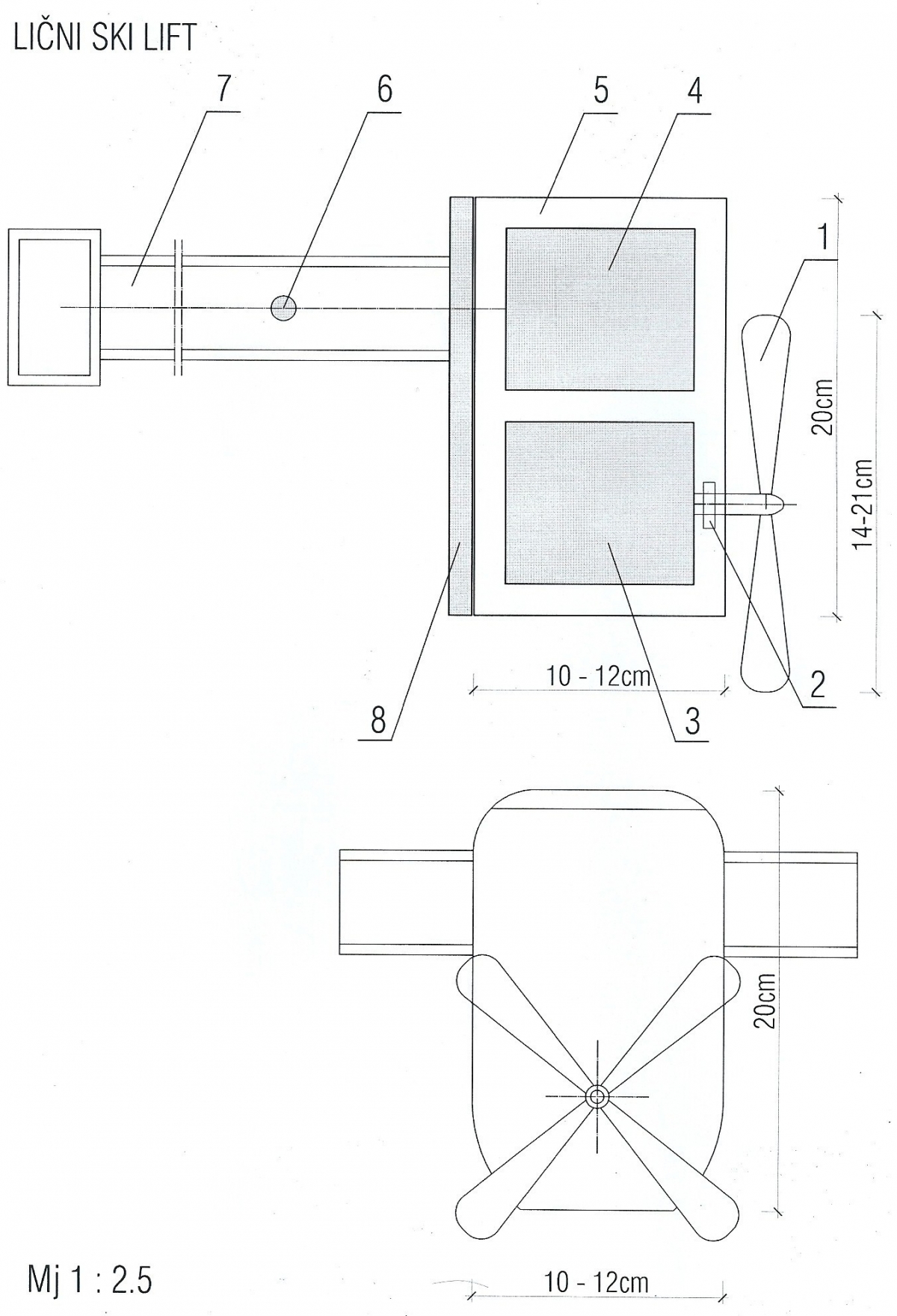
Kratak opis crteža
1. Potisna elisa sa osovinom, višekraka od karbonskih vlakana promjera 14-21 cm,
2. Kuglager,
3. Motor 450-1000 W zavisno od težine,
4. Baterija lithium sumpor dioksid 600wh/kg. Prema tezini skijaša treba racunati 3 modela snage od 450w, 740w, 1050w, a za tezine od 50 do 130 kg, skijaša uračunato 10% tezine na opremu i odeću.
5. Kućište sa poklopcem od karbonskih vlakana (kutija),
6. Dugme paljenja,
7. Kaiš od plastične mase oko struka,
8. Guma 1.2 cm debljine za neutraliziranje udaranja kod padova.
6. Izlaganje suštine pronalaska
Lični Ski lift je naprava za osobni vertikalni transport, sa potisnom elisom od karbonskih vlakana, pogonjenom istosmjernim el.motorom sa lithium sumpor dioksid baterijom od 600wh/kg, ili jačom kada je bude. Kućište je kutija od karbonskih vlakana, sa poklopcem u kojoj su motor i baterija (punjač spori odvojen).
Elisa je u nivou stražnjice, a baterija više u nivou struka. Kućište je opasačem vezano za skijaša, a dugme za paljenje bočno na opasaču od plastičnih vlakana. Promjer elise 14-21 cm, debljina presjeka elise 3-8mm radi čvrstoće i spriječavanja da se polomi udarcem.
Motor 450-1000w zavisno od težine skijaša, omogući brzinu od 2.5 metra u sekundi na nagibu od 30-40 stepeni i razmak na trasi od 2.5-3 sekunde među skijašima.
Da bi se neutralisali udarci kod padova, prema stražnijci je na kutiji montirana guma 1.2 cm debljine, visina kutije je 20 cm, a širina i dubina od 10-12 cm zavisno od modela prema težini.
Sa amortizacijom uređaja može se dobiti skijanje na malim skijalištima uz planinarske domove u 15% cijene koja se naplaćuje za dnevne karte danas, što sam izračunao prema cijeni uređaja za bateriju kojom se skija pola dana, a puni se u vrijeme ručka na terenu.
Debljina zidova kutije 2mm( od karbonskih vlakana), težina najvećega modela 800gr. + 2.5kg baterija (lithium-sumpor dioksid), bez pojasa. ukoliko se primjeni lithium air baterija od 1.7kg uređaj čitav lakši za 800gr.
Važno guma prema stražnjici anatomski oblikovana, dno uređaja oko motora polukružno oblikovano.
Autor: Senad Šećerbegović, Sarajevo, tel. +387 62 082124
Srodne strane
Sistem za veštačko osnežavanje
Kako skijaši i svi ljubitelji zimskih sportova ne bi zavisili od toga da li će biti prirodnog snega, Skijališta Srbije pokrila su...
Prva kabriolet gondola na svetu
CabriO-Bahn je prva žičara na svetu sa kabinama sa otvorenom krovom. Može se reći da je to u početku bila luda ideja...
Seme trave za ski staze
Skijaške staze na skijalištima imaju često veoma naglašene estetske i funkcionalne posledice. Izgradnja ili proširenje postojećih ski-staza utiče na degradaciju zemljišnog i vegetacionog...
- Voz "Glacier Express" - Od Cermata do Sent Morica, 8 sati vožnje kroz Alpe
- Snow Team Vršac, na najelitnijem evropskom skijalištu Tri doline - Meribel 2024
- Snow Team Vršac po peti put u ski centru Bansko
- Snow Team Vršac u Banskom - Ljubav koja traje
- Snow Team Vršac na krovu Evrope - Matterhorn Ski Paradise





